jocuri-cu-barbie.us
Home » Patent Assignment Form

patent assignment form

Patent Assignment Form  HowtheygotthereUs

Patent Assignment Form Howtheygotthereus

Patent Market Dynamics In View Of The Business Model Of Non

Patent Market Dynamics In View Of The Business Model Of Non

Us Patent Basics

Us Patent Basics

ChargesForms Trademark Registration In ChinaTrademake

Chargesforms trademark Registration In ChinaTrademake

Manual Designs Patent Practice And Procedure In India

Manual Designs Patent Practice And Procedure In India

Assignment Forms Term Paper Help

Assignment Forms Term Paper Help

Assignment Contract Template Intellectual Property Assignment

Assignment Contract Template Intellectual Property Assignment

Demographics Form Template  BesikEightyCo

Demographics Form Template Besikeightyco

Patent Assignment Form Image Ip Student Assignment Of Intellectual

Patent Assignment Form Image Ip Student Assignment Of Intellectual

Sample Patent Assignment Form   Free Documents Download In Pdf

Sample Patent Assignment Form Free Documents Download In Pdf

Assignment Agreement Form Research Paper Service

Assignment Agreement Form Research Paper Service

 Best Qr Code Companies  Services  Products Images On

Best Qr Code Companies Services Products Images On

 Examples Of Report Forms

Examples Of Report Forms

Patent Assignment Agreement Template Sample Assignment Agreement

Patent Assignment Agreement Template Sample Assignment Agreement

Agreement Forms In Word

Agreement Forms In Word

Intellectual Property Agreement Images Of Proprietary Notice

Intellectual Property Agreement Images Of Proprietary Notice

 Patent Assignment Samples And Templates  Pdf

Patent Assignment Samples And Templates Pdf

Declaration Declaration Of Interest Form Img Tax Forms The

Declaration Declaration Of Interest Form Img Tax Forms The

Patent Assignment Form  HowtheygotthereUs

Patent Assignment Form Howtheygotthereus

Power Of Attorney Form Idaho Best Of Power Of Attorney Forms Poa

Power Of Attorney Form Idaho Best Of Power Of Attorney Forms Poa

Patent Assignment Form Free Printable Accounts Receivable Specific

Patent Assignment Form Free Printable Accounts Receivable Specific

Patent License Agreement New  Patent Agreement Templates Free

Patent License Agreement New Patent Agreement Templates Free

Sample Patent Assignment Form   Free Documents Download In Pdf

Sample Patent Assignment Form Free Documents Download In Pdf

Welcome To EfsWeb Indexing Training  Ppt Download

Welcome To EfsWeb Indexing Training Ppt Download

Intellectual Property Agreement Template Sample Intellectual

Intellectual Property Agreement Template Sample Intellectual

 Assignment Agreement Form Samples  Free Sample Example Format

Assignment Agreement Form Samples Free Sample Example Format

Patent Assignment Form Confessions Of A Primary Teacher Freebie

Patent Assignment Form Confessions Of A Primary Teacher Freebie

 Patent Agreement Form Samples  Free Sample Example Format Download

Patent Agreement Form Samples Free Sample Example Format Download

Help On Writing Personal Statement For University Study  Buy A

Help On Writing Personal Statement For University Study Buy A

 Patent Agreement Templates Free Sample Example Format Within

Patent Agreement Templates Free Sample Example Format Within

Assignment  Ipr

Assignment Ipr

Patent Assignment Form  HowtheygotthereUs

Patent Assignment Form Howtheygotthereus

Assignment Agreement Inspirational Assignment Of Liquid Collateral

Assignment Agreement Inspirational Assignment Of Liquid Collateral

Sample Patent Assignment Form   Free Documents Download In Pdf

Sample Patent Assignment Form Free Documents Download In Pdf

Patent Assignment Form Printable Sample Personal Training Contract

Patent Assignment Form Printable Sample Personal Training Contract

Inventions Assignment Template Forms For Fre  Sample Contracts

Inventions Assignment Template Forms For Fre Sample Contracts

Marathon Patent Group Inc Form  K Ex  Assignment Of Regarding

Marathon Patent Group Inc Form K Ex Assignment Of Regarding

 Patent Assignment Samples And Templates  Pdf

Patent Assignment Samples And Templates Pdf

Contract Saas Contract Form Simple Service Agreement Template Quote

Contract Saas Contract Form Simple Service Agreement Template Quote

Sample Patent Assignment Form   Free Documents Download In Pdf

Sample Patent Assignment Form Free Documents Download In Pdf

Patent Assignment Form Chargesforms Chargesforms Trademark

Patent Assignment Form Chargesforms Chargesforms Trademark

 Patent Agreement Form Samples  Free Sample Example Format Download

Patent Agreement Form Samples Free Sample Example Format Download

Patent Assignment Form Patent Assignment Agreement Sample

Patent Assignment Form Patent Assignment Agreement Sample

Patent Assignment Form Printable Sample Installment Land Contract

Patent Assignment Form Printable Sample Installment Land Contract

Sample Patent Assignment Form   Free Documents Download In Pdf

Sample Patent Assignment Form Free Documents Download In Pdf

Trademark Assignment Form Trademark Assignment Agreement How To

Trademark Assignment Form Trademark Assignment Agreement How To

FileOnLine

Fileonline

Patent Assignment Agreement Template Patent Assignment Form Patent

Patent Assignment Agreement Template Patent Assignment Form Patent

Stock Purchase Agreement Template Latest Screnshoots Form California

Stock Purchase Agreement Template Latest Screnshoots Form California

Patent Assignment Form Patent Assignment Agreement Sample

Patent Assignment Form Patent Assignment Agreement Sample

ChargesForms Trademark Registration In ChinaTrademake

Chargesforms trademark Registration In ChinaTrademake

Non Provisional Patent Application Example Form Canada South Africa

Non Provisional Patent Application Example Form Canada South Africa

ExHtm

Exhtm

 Petitions Practice Thurman K Page Supervisory Petitions Examiner

Petitions Practice Thurman K Page Supervisory Petitions Examiner

Collection Of Design Patent Application Form  Provisional Patent

Collection Of Design Patent Application Form Provisional Patent

Patent Assignment Form Free Printable Accounts Receivable Specific

Patent Assignment Form Free Printable Accounts Receivable Specific

Patent Assignment Form Confessions Of A Primary Teacher Freebie

Patent Assignment Form Confessions Of A Primary Teacher Freebie

Patent Assignment Form Patent Us Controller And Method For Virtual

Patent Assignment Form Patent Us Controller And Method For Virtual

Patent License Agreement New  Patent Agreement Templates Free

Patent License Agreement New Patent Agreement Templates Free

Patent Assignment Form Time To Patent News Best Us Provisional

Patent Assignment Form Time To Patent News Best Us Provisional

Welcome To EfsWeb Indexing Training  Ppt Download

Welcome To EfsWeb Indexing Training Ppt Download

Overview Of Drafting  Filing Of Patent In India  Ppt Video Online

Overview Of Drafting Filing Of Patent In India Ppt Video Online

Form PtoSb  United States Patent And Trademark Office

Form Ptosb United States Patent And Trademark Office

Patent Assignment Form Patent Assignment Agreement Sample

Patent Assignment Form Patent Assignment Agreement Sample

Patent Assignment Form Free Printable Accounts Receivable Specific

Patent Assignment Form Free Printable Accounts Receivable Specific

Iolite Softwares Pvt Ltd

Iolite Softwares Pvt Ltd

ExHtm

Exhtm

 Best Printable Real State Coupon Images On   Coupon

Best Printable Real State Coupon Images On Coupon

Patent Assignment Form Exploded View Taken From U S Patent No

Patent Assignment Form Exploded View Taken From U S Patent No

An Update From The Uspto Recent Trademark Assignment Enhancements

An Update From The Uspto Recent Trademark Assignment Enhancements

ExHtm

Exhtm

Property Transfer Agreement Template Intellectual Property

Property Transfer Agreement Template Intellectual Property

Invention Assignment Agreement Definition Patent Sample Form Pre

Invention Assignment Agreement Definition Patent Sample Form Pre

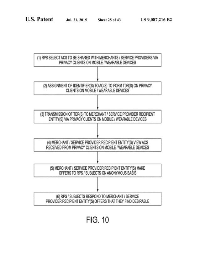
Anonos US Patent Number

Anonos Us Patent Number

Corporate Resolution Form   Free Word Pdf Documents Download

Corporate Resolution Form Free Word Pdf Documents Download

Patent Assignment Form Patent Assignment Agreement Sample

Patent Assignment Form Patent Assignment Agreement Sample

Assignment Agreement Inspirational Assignment Of Liquid Collateral

Assignment Agreement Inspirational Assignment Of Liquid Collateral

Technology Transfer From The Research Bench To Commercialization

Technology Transfer From The Research Bench To Commercialization

Amazing Patent Assignment Form Contemporary  Best Resume Examples

Amazing Patent Assignment Form Contemporary Best Resume Examples

Trademark Assignment Form Contact Form Contact Form Psd Free Psd

Trademark Assignment Form Contact Form Contact Form Psd Free Psd

Agreement Forms In Word

Agreement Forms In Word

Patent Assignment Form Patent Assignment Agreement Sample

Patent Assignment Form Patent Assignment Agreement Sample

RANo  Ip Code

Rano ip Code

Assignment Of Patent Custom Paper Service OfpaperdhouAllthehitsUs

Assignment Of Patent Custom Paper Service Ofpaperdhouallthehitsus

Patent Assignment Agreement Template Intellectual Property

Patent Assignment Agreement Template Intellectual Property

Sr Form  Aquaterra

Sr Form Aquaterra

Sample Patent Assignment Form   Free Documents Download In Pdf

Sample Patent Assignment Form Free Documents Download In Pdf

Welcome To EfsWeb Indexing Training  Ppt Download

Welcome To EfsWeb Indexing Training Ppt Download

Provisional Patent Template Patent Application Templates Free Sample

Provisional Patent Template Patent Application Templates Free Sample

Azezy Uspto Trademark Assignment Cover Sheet

Azezy Uspto Trademark Assignment Cover Sheet

Patent And Trademark Office On The App Store

Patent And Trademark Office On The App Store

 Sample Patent Application Template  Buzzines Templates

Sample Patent Application Template Buzzines Templates

Reinbolt Research Group  Resources  Bme   Assignments

Reinbolt Research Group Resources Bme Assignments

Published Patent And Design Registration Information December Th

Published Patent And Design Registration Information December th

Is It Possible To Assign An Entity As The Inventor In A Patent  Quora

Is It Possible To Assign An Entity As The Inventor In A Patent Quora

Patent Assignment Form Image Ip Student Assignment Of Intellectual

Patent Assignment Form Image Ip Student Assignment Of Intellectual

Patent Assignment Agreement Template Sample Patent Assignment Form

Patent Assignment Agreement Template Sample Patent Assignment Form

Trademark Assignments

Trademark Assignments

Amazing Patent Assignment Form Contemporary  Best Resume Examples

Amazing Patent Assignment Form Contemporary Best Resume Examples

Patent Flowchart Example  Create A Flowchart

Patent Flowchart Example Create A Flowchart

Relatedpatent assignment form

  • letter of recommendation sample
  • resume example for students
  • property manager resume example
  • create a cover letter
  • manager resume objective examples
  • example of student resume
  • resume website examples
  • resume examples with no work experience
  • resume examples student
  • theatrical resume template
  • healthcare resume template
  • resume template in word
  • resume for job application format
  • fax cover sheet
  • high school resume examples
  • customer service skills examples for resume
  • cosmetologist resume template
  • nursing resume example
  • graduate resume template
  • functional resume template free download
  • example of a well written resume
  • Random post:

    Copyright © 2017 jocuri-cu-barbie.us.